SPF-Z

Anker voor bintwerk links of rechts - ZPRO

De ankers voor bintwerk links en rechts SPF-Z verbinden twee haaks overlappende stukken hout. Dankzij de ZPro-coating kunnen ze worden gebruikt voor terrasconstructies in niet-zoutrijke buitenomgevingen.

CE-Markering
ETA
Gebruiksklasse 3
Buiten
Zpro
EPD

Product Details

Afbeeldingen

Kenmerken

Materiaal

  • Verzinkt staal S250GD + ZPro,
  • De ZPro-coating komt overeen met een zinklaag van ongeveer 55 µm dik.

Voordelen

  • Gebruik buitenshuis dankzij ZPro-coating,
  • Zeer veelzijdige toepassingen...

Toepassing

Gebruik

  • Bevestiging van houten elementen die elkaar haaks kruisen in buitenomgevingen,
  • Terrassen ...

Ondergrond

  • Drager : massief hout, composiethout, gelijmd gelamineerd hout…
  • Gedragen : massief hout, composiethout, gelijmd gelamineerd hout…

Technische gegevens

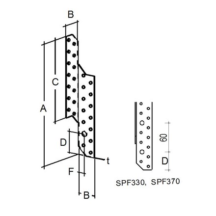
Afmetingen

Afmetingen

Referentie Afmetingen [mm] Boorgaten Flens A Boorgaten Flens B
A B C D F t Ø5 Ø5 Ø9
SPF210LZ21032.514037.514214131
SPF210RZ21032.514037.514214131

De SPF ... 'L' is de linkeruitvoering, terwijl de SPF ... 'R' de rechteruitvoering is.

Karakteristieke waarden - Hout op hout - 1 anker voor bintwerk

Referentie Karakteristieke waarden - Hout op hout 
Bevestigingselementen Karakteristieke waarden - Houtsterkteklasse C24
Drager Gording R1.k R2.k R3.k
Hvh Hvh CSA5.0x35Z CNA4,0x60 CSA5.0x35Z CNA4,0x60 CSA5.0x35Z CNA4,0x60
SPF210LZ77min(9,7 ; 8,4 /kmod)min(12,4 ; 8,4 /kmod)3.34.11.52.5
SPF210RZ77min(9,7 ; 8,4 /kmod)min(12,4 ; 8,4 /kmod)3.34.11.52.5

De karakteristieke waarden worden in deze tabel weergegeven voor een anker voor bintwerk wanneer de houtelementen tegen rotatie zijn geblokkeerd.
De weerstand voor 2 SPF-ankers voor bintwerk wordt verkregen door de afzonderlijke weerstanden op te tellen.

Installatie

Installatie

Bevestigingselementen

  • Ringnagels CNA Ø4.0x40G,
  • Schroeven CSA5.0x35Z of CSA5.0x40Z,
  • Schroeven voor verbinders SSH Ø8 mm...

Certificering

Prestatieverklaring: DoP

Europese technische goedkeuring: ETA

Downloads

  • ZPRO Verbinders voor buiten

    ZPRO Verbinders voor buiten

    Het ZPRO-assortiment van verbinders voor constructiedelen biedt een rendabel alternatief voor roestvast staal, ideaal voor aan het weer blootgestelde constructies zoals carports en terrassen.

ZIP-pakketten

Online kopen

Geen artikelen beschikbaar.

Contact

Simpson Strong-Tie Frankrijk

Simpson Strong-Tie

ZAC des Quatre Chemins
85400 Sainte-Gemme-la-Plaine
Frankrijk