C1 - C5
Bulldog-kramplaten
Enkel- en dubbelzijdig getande Bulldog-kramplaten worden gebruikt om boutverbindingen uit te voeren en de belastingsterkte ervan te verhogen.
CE-Markering
Gebruiksklasse 3
Buiten
Verzinkt staal
EPD
Product Details
Kenmerken
Materiaal
- Staalsoort HC340 LA overeenkomstig EN 10268,
- Thermisch verzinkte afwerking overeenkomstig NF EN ISO 1461. Modellen C1 Ø 62 en Ø 75 zijn leverbaar met afwerking AVZ (voorverzinkt type Z275),
- Dikte : van 1 tot 1,5 mm naargelang van het model.
Voordelen
- Maakt het mogelijk de verbinding te demonteren en vereist geen bijzondere machinale bewerking voor montage.
Toepassing
Ondergrond
- Drager : massief hout, composiethout, gelijmd gelamineerd hout, ...
- Gedragen bouwdeel : massief hout, composiethout, gelijmd gelamineerd hout, staal, ...
Toepassingsgebieden
- Boutkrans voor portalen,
- Verbinding van metalen bintbalken/spant, betonnen kolom/spant, trekbalken,
- Alle soorten vastgeboute hout-op-houtverbindingen.
Discontinued Products
Variant Status Details
There are variants of this product family which have been discontinued and are out of production.
phased out (has Variants which were phased out)Technische gegevens
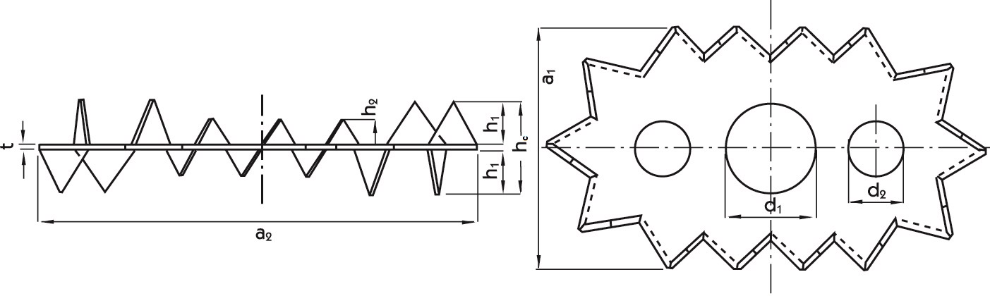
Afmetingen - Ronde vorm dubbelzijdig getand C1
| Referentie | Typ | Verbinder afmetingen [mm] | Box Quantity | ||||
|---|---|---|---|---|---|---|---|
| Diameter ∅ | Hoogte | Dikte | |||||
| Uitwendige | Centrale boormal | Tanden | Totale | Dikte | |||
| dc | d1 | h1 | hc | ||||
| C1-50G-B | C1 | 50 | 17 | 6 | 13 | 1 | 200 |
| C1-62G-B | C1 | 62 | 21 | 7.4 | 16 | 1.2 | 100 |
| C1-75G-B | C1 | 75 | 26 | 9.1 | 19.5 | 1.3 | 100 |
| C1-95G-B | C1 | 95 | 33 | 11.3 | 24 | 1.4 | 40 |
| C1-117G-B | C1 | 117 | 48 | 14.3 | 30 | 1.5 | 25 |
Minimumafstand en karakteristieke waarden
| Referentie | Typ | Houtdikte | Minimumafstanden | Karakteristieke waarden Afschuifsterkte (boutsterkte niet opgenomen) | ||||||
|---|---|---|---|---|---|---|---|---|---|---|
| Dikte 1 [mm] | t2 [mm] | Afstand tussen bouten (hetzelfde lijn) | Afstand tussen lijnen | Afstand tot het belaste uitende | Afstand tot het onbelaste uitende | Afstand tot belaste rand | Afstand onbelaste rand | Rv.k [kN] | ||
| a1 α=0° [mm] | a2 [mm] | a3.t [mm] | a3.c α=90° [mm] | a4.t α=90° [mm] | a4.c [mm] | |||||
| C1-50G-B | C1 | 18 | 30 | 75 | 60 | 75 | 75 | 40 | 30 | 6.3 |
| C1-62G-B | C1 | 23 | 37 | 93 | 75 | 93 | 93 | 50 | 38 | 8.7 |
| C1-75G-B | C1 | 28 | 46 | 113 | 90 | 113 | 113 | 60 | 45 | 11.6 |
| C1-95G-B | C1 | 34 | 57 | 143 | 114 | 143 | 143 | 76 | 57 | 16.6 |
| C1-117G-B | C1 | 43 | 72 | 176 | 141 | 176 | 176 | 94 | 71 | 22.7 |
| C5-100G-B | C5 | 22 | 37 | 150 | 120 | 150 | 150 | 80 | 60 | 18 |
De karakteristieke waarden bij afschuiving per verbinder Rv.k is berekend volgens de minimale afstanden vermeld in deze tabel voor een houtsoort van klasse C24. Deze waarde kan worden vermeerderd met een grotere afstand a3,t ofwel een hogere houtsterkteklasse (zie factoren k2 et k3 volgens EN1995). In geval van lagere waarden t1 en t2 raadpleegt u de norm EN1995. De karakteristieke weerstandswaarde bij afschuiving van een bout is niet inbegrepen en moet worden toegevoegd.
Installatie
Installatie
Plaatsing
- Bewerk de houten elementen door de boorgaten voor de bout uit te voeren.
- Pers de kramplaat op de houten elementen.
- Plaats de bout en draai hem aan.
Bevestigingen
- Bij dubbelzijdig getande kramplaten worden de tanden met behulp van een hydraulische pers of sleutel ingedreven bij het aan elkaar vastbouten van de bouwdelen. De verbinding wordt uitgevoerd na het aandraaien van de bouten,
- Een bout moet altijd met twee sluitringen gemonteerd worden.